安全激光掃描器 [Type3] SD3-A1
靈活設定監視區域,監視危險區域內人員的存在和誤進入!
- 基本信息
- 產品種類
- 詳細規格
- 產品尺寸
- 產品用途
- 可選件
靈活設定監視區域,監視危險區域內人員的存在和誤進入!
|
※1
|
|
|
|
※2
|
| ※1 | 機械?EMC指定適用 |
|---|---|
| ※2 | 可以對應控制類型3 |
特點
■安全使用
使用光幕傳感器時請事先確認系統的安全性、是否滿足以下控制系統的構成。
>>光幕傳感器的使用注意事項
可設定靈活的區域
對警告區域(半徑15m的半圓內)和檢測區域(防護區域)(半徑4m的半圓內)這2個區域進行大范圍監視。在監視范圍內不僅可以自由設定各區域的形狀,還可對總共8個區域進行切換,而且可在動作時切換區域。
|
■可利用手提電腦靈活設定區域
|
|
小尺寸等級
|
W140×H195×D135mm的小型規格。
※檢測范圍在4m的等級之內。2008年10月在本公司調查。
|
|
設置安全激光掃描器后,對光軸偏移進行監視
|
使其常時檢測靜止物體,并使邊界參照功能生效,由于安全激光掃描器可記錄其與靜止物體的位置關系,因此可對設置后的光軸偏移進行監視。 |
|
通過改變反應時間,可防止干擾 通
反應時間在80~640ms范圍內可調。將多個安全激光掃描器靠近設置時,通過調整反應時間可防止相互干擾。
保存設定內容,簡化維護后的復原作業(配件)
|
可將設定內容保存在另售的配置插頭的內置存儲器中。在維護后或更換安全激光掃描器后,不必通過電腦設定,只需從插頭的存儲器載入設定內容,即可復原。 |
|
種類
安全激光掃描器
| 品名 | 形狀 | 型號 | 控制輸出(OSSD1、OSSD2) |
|---|---|---|---|
|
安全 激光掃描器 |
|
SD3-A1 | PNP開路集電極晶體管 |
維護部件(安全激光掃描器中附帶)
| 品名 | 型號 | 內容 |
|---|---|---|
|
15針連接器側 直型連接器 |
SD3-PS |
專用的15針連接器。直型。 釬焊連接。本體重量:約35g |
|
9針連接器側 直型連接器 |
SD3-RS232 |
專用的9針連接器。直型。 釬焊連接。本體重量:約30g |
| 掃描器窗 | SD3-WINDOW |
激光掃描器本體上透鏡面的更換用零件。 本體重量:約45g |
|
|
|
|||||||||
規格
| 種類 | 安全激光掃描器 | |||||
| 型號 | SD3-A1 | |||||
|
適 合 標 準 |
國際標準 | IEC 61496-1/3(類型3)、ISO 13849-1(類別3、PLd)、IEC 61508-1~7(SIL2)、IEC 62061(SIL2) | ||||
| 日本 | JIS B 9704-1/3(類型3)、JIS B 9705-1(類別3)、JIS C 0508(SIL2) | |||||
| 歐州(歐盟) | EN 61496-1(類型3)、ISO 13849-1(類別3、PLd)、EN 61508-1~7(SIL2) | |||||
| 檢測區域 | 最小檢測物體設定 | φ150mm | φ70mm | φ50mm | φ40mm | φ30mm |
| 檢測距離(半徑) | 0?4.0m | 0?4.0m | 0?2.8m | 0?2.2m | 0?1.6m | |
| 檢測物體反射射率 | 最小1.8% | |||||
| 警告區域 | 最小檢測物體設定 | φ150mm(固定) | ||||
| 檢測距離(半徑) | 0?15m | |||||
| 檢測物體反射率 | 最小20% | |||||
| 計測區域 | 最大計測距離(半徑) | 50m(固定) | ||||
| 檢測角度 | 190°/180°(根據設定而定) | |||||
| 區域設定數 |
最大7+1(無檢測區域) 〔根據檢測區域和警告區域的組合情況,作為“一對區域”可通過外部輸入(FP1~FP4)進行切換〕 |
|||||
| 區域設定最小距離 | 200mm | |||||
| 電源電壓(UB) | 24V DC +20/-30%(IEC 60742) | |||||
| 消耗電流 | 約300mA(不包括外部連接負載) | |||||
| 保險絲額定值 | 1.25A半延時保險絲 | |||||
|
控制輸出 (OSSD1、OSSD2) |
PNP開路集電極晶體管雙輸出 ?額定工作電壓:電源電壓(UB)-3.2V ?最大源電流:250mA ?剩余電壓 3.2V以下 |
|||||
| 輸出動作 | 未侵入檢測區域時:ON,侵入時:OFF | |||||
| 反應時間 | 最小80ms(掃描2次)~最大640ms(掃描16次) 切換式 | |||||
| 短路保護 | 配備 | |||||
|
警告輸出1 (Alarm1) |
PNP開路集電極晶體管 ?額定工作電壓:電源電壓(UB)-4V ?最大源電流:100mA ?剩余電壓 4V以下 |
|||||
| 輸出動作 |
工作模式切換式(根據以下設定) ?不使用 ?本體正常時:ON,異常時:OFF ?未侵入警告區域時:ON,侵入時:OFF ?本體正常時:ON,異常時:OFF,未侵入警告區域時:ON,侵入時:OFF |
|||||
| 反應時間 | 最小80ms(掃描2次)~最大640ms(掃描16次) 切換式 | |||||
|
警告輸出2 (Alarm2) |
PNP開路集電極晶體管 ?額定工作電壓:電源電壓(UB)-4V ?最大源電流:100mA ?剩余電壓 4V以下 |
|||||
| 輸出動作 | 本體正常時:ON,異常時:OFF | |||||
| 激光防護等級 | 1級[IEC 60825、FDA(注2)] | |||||
| 發光波峰波長 | 905nm | |||||
|
環 境 適 應 性 |
保護構造 | IP65 | ||||
| 使用環境溫度 | 0~+50℃、存儲時:-20~+60℃ | |||||
| 使用環境濕度 | 動作時、存儲時:最大95%RH(注意不可結露) | |||||
| 耐振動/耐沖擊 | 10~150Hz 最大5G(約50m/s2) X,Y和Z方向各20次 | |||||
| 最大電纜長度 |
15針插頭:最長50m,9針插頭:最長10m(使用RS-232C時)/最長50m(使用RS-422時) (使用另售的連接電纜)(注1) |
|||||
| 材質 | 本體:鋁壓鑄件,窗部:熱可塑性樹脂 | |||||
| 附件 |
SD3-PS(專用15針連接器):1個、SD3-RS232(專用9針連接器):1個 安裝螺絲〔2個M5(長20mm)內六角螺栓、2個M5(長16mm)內六角螺栓、SD3-PS中附帶〕:1套 簡易使用說明書:1冊,設定用CD-ROM(包括使用說明書的詳細數據):1個 |
|||||
| 重量 | 本體重量:約2.1kg,包裝重量:約2.9kg | |||||
(注1): 電纜過長或電纜導體截面積過小可能導致電壓降低,敬請注意。
(注2): 依據第50號激光通告(2007.6.24),以FDA標準(21 CFR 1040.10、1040.11)為準。
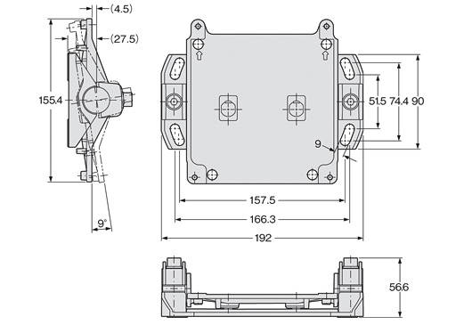
尺寸圖
- 單位mm
SD3-A1
安全激光掃描器
|
MS-SD3-1
安裝支架(另售)
|
用途
|
|
|
|
|
|
可選件
| 品名 | 型號 | 內容 | ||
|---|---|---|---|---|
| 安裝支架 | MS-SD3-1 |
將安全激光掃描器朝后安裝。 本體重量:約530g |
||
|
15 針 連 接 器 側 |
后向 L型連接器 |
SD3-PS-L |
專用的15針連接器。L型后向。釬焊連接。 本體重量:約35g |
|
|
配置 插頭 |
SD3-CP |
帶內置存儲器(記錄設定內容)的15針連接器。釬焊連接。 本體重量:約35g |
||
|
帶配置 插頭的電纜 |
SD3-CP-C5 |
電纜長5m 本體重量:約690g(1根) |
帶電纜的配置插頭。 最小彎曲半徑:R50mm |
|
| SD3-CP-C10 |
電纜長10m 本體重量:約1.3kg(1根) |
|||
| SD3-CP-C25 |
電纜長25m 本體重量:約3.3kg(1根) |
|||
| SD3-CP-C50 |
電纜長50m 本體重量:約6.3kg(1根) |
|||
| SD3-CP-C10-L |
電纜長10m L型 本體重量:約1.3kg(1根) |
|||
|
9 針 連 接 器 側 |
后向 L型連接器 |
SD3-RS232-L |
未連接PC時使用的專用9針連接器。L型后向。電纜可釬焊連接。 本體重量:約30g |
|
|
PC連接用 電纜 |
SD3-RS232-C3 |
電纜長3m 本體重量:約160g(1根) |
用于RS-232C/422的帶PC電纜專用9針連接器。 最小彎曲半徑 :R50mm |
|
| SD3-RS232-C5 |
電纜長5m 本體重量:約230g(1根) |
|||
| SD3-RS232-C10 |
電纜長10m 本體重量:約400g(1根) |
|||
| 動作確認工具 | SD3-DEMO-24V |
用于安全激光掃描器的保養、檢查時,可進行動作確認。電源24V DC。 本體重量:約270g |
||
| 清潔套件 | SD3-CLEAN1 |
用于清潔掃描器窗(透鏡面)。 包括清洗液150m?、清潔布25塊。 |
||
| SD3-CLEAN2 |
用于清潔掃描器窗(透鏡面)。 包括清洗液1?、清潔布100塊。 |
|||
|
|
|
|||||||||
|
|
|
|||||||||
|
|
|
|




















科恩電氣
科恩眾和